USP Icon
Post-paiement
USP Icon
Les clients évaluent Zandri à 9
USP Icon
Plus de 100 000 pièces dans l'assortiment

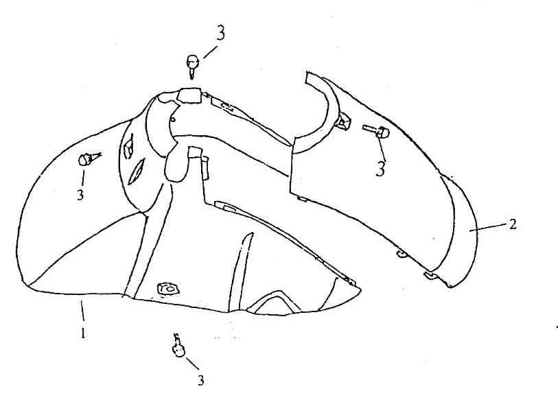
Garde boue avant Berini Bella Milano bleu crème

Garde boue avant Berini Bella Milano bleu crème
loader
Chargement...

Pièces détachées Berini Bella Milano bleu beige