USP Icon
Post-paiement
USP Icon
Les clients évaluent Zandri à 9
USP Icon
Plus de 100 000 pièces dans l'assortiment

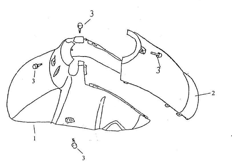
Garde boue avant Rover Exclusive blanc noir

Garde boue avant Rover Exclusive blanc noir
loader
Chargement...

Pièces détachées Rover Exclusive blanc noir