USP Icon
Post-paiement
USP Icon
Les clients évaluent Zandri à 9
USP Icon
Plus de 100 000 pièces dans l'assortiment

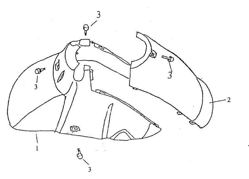
Garde boue avant Vom Bella Retro anthracite

Garde boue avant Vom Bella Retro anthracite
loader
Chargement...

Pièces détachées Vom Bella Retro anthracite