USP Icon
Post-paiement
USP Icon
Les clients évaluent Zandri à 9
USP Icon
Plus de 100 000 pièces dans l'assortiment

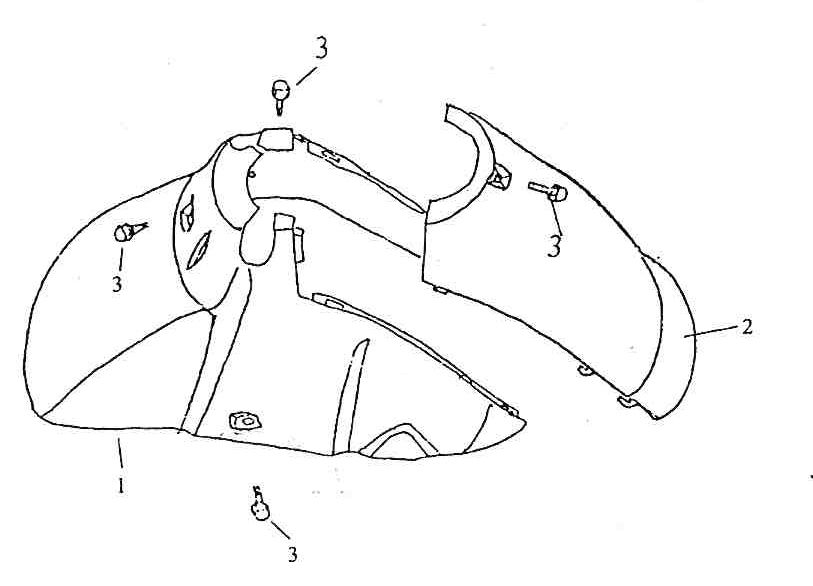
Garde boue avant Znen Grand Retro bleu crème

Garde boue avant Znen Grand Retro bleu crème
loader
Chargement...

Pièces détachées Znen Aurora IV bleu beige