USP Icon
Post-paiement
USP Icon
Les clients évaluent Zandri à 9
USP Icon
Plus de 100 000 pièces dans l'assortiment

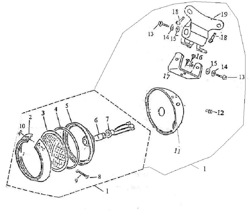
Optique de phareBerini Bella Milano noir

Optique de phareBerini Bella Milano noir
loader
Chargement...

Pièces détachées Berini Bella Milano noir