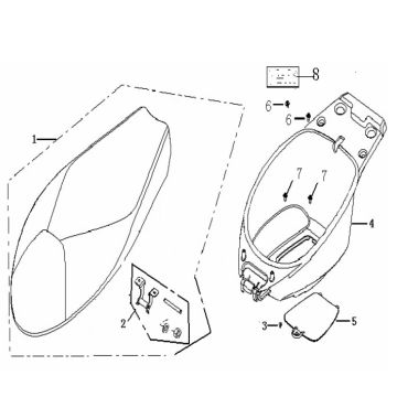
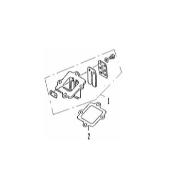
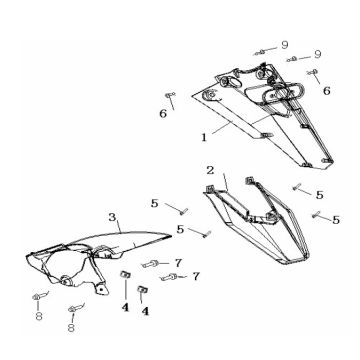
Dessins techniques pour Generic Ideo red 2007 2 temps 25
Cliquez ici sur les dessins techniques ou en vue éclatée du scooter Generic Ideo red 2007 2 temps 25 pour lequel vous recherchez des pièces ou des accessoires. Les dessins techniques du Generic Ideo red 2007 2 temps 25 vous donnent un aperçu clair des différentes pièces et accessoires correspondants. En recherchant vos pièces, vous aurez toujours des pièces adaptées pour votre Generic Ideo red 2007 2 temps 25.


