Dessins techniques pour Peugeot Fox Deluxe
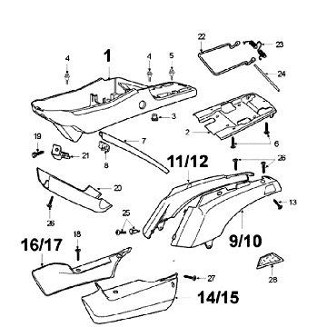
Cliquez ici sur les dessins techniques ou en vue éclatée du scooter Peugeot Peugeot Fox Deluxe pour lequel vous recherchez des pièces ou des accessoires. Les dessins techniques de la Peugeot Fox Deluxe vous donnent un aperçu clair des différentes pièces de fixation et accessoires. En recherchant vos pièces, vous aurez toujours des pièces adaptées pour votre Peugeot Peugeot Fox Deluxe.


