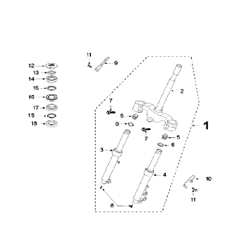
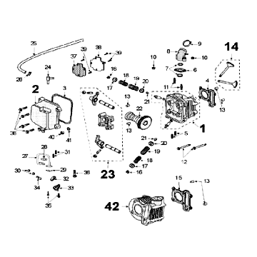
Pièces et accessoires pour Peugeot V-clic Red
Cliquez ici sur la version correcte du scooter Peugeot V-clic Red pour lequel vous recherchez des pièces ou des accessoires. Les dessins techniques de la Peugeot V-clic Red vous donnent un aperçu clair des différentes pièces de montage et accessoires. Les pièces d'origine Peugeot V-clic Red sont bien entendu les mieux adaptées.


