Dessins techniques Piaggio Typhoon 98-2005 2 temps
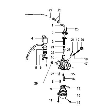
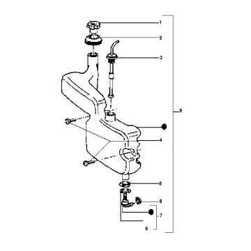
Cliquez ici sur les dessins techniques ou en vue éclatée du scooter 2 temps Piaggio Typhoon 98-2005 pour lequel vous recherchez des pièces ou des accessoires. Les dessins techniques du Piaggio Typhoon 98-2005 2 temps vous donnent un aperçu clair des différentes pièces de montage et accessoires. En recherchant vos pièces, vous aurez toujours des pièces adaptées à votre Piaggio Typhoon 98-2005 2 temps.
Typhon Piaggio
Le Piaggio Typhoon a longtemps été vendu sous le nom de Puch Typhoon. Ce moteur 2 temps Piaggio refroidi par air est relativement rapide, mais surtout fiable. Le Typhoon est un scooter spatial pour 2 personnes qui convient également aux chemins de terre. Un problème courant avec ce Typhoon Piaggio/Puch est une fourche bloquée. Vérifiez donc toujours attentivement la fourche avant lorsque vous achetez un Piaggio Typhoon. Comme beaucoup d'autres scooters, cette marque de trottinette est utilisée pour les trajets quotidiens, le shopping ou simplement les tournées.
Pièces pour votre Piaggio Typhoon via le dessin technique
L'entretien de votre Piaggio Typhoon est bien entendu très important. Mais comment recherchez-vous vos pièces ? Choisissez d'abord votre type ci-dessus, puis votre modèle, puis voyez le dessin dont vous pensez avoir besoin. Si vous recherchez vos pièces et accessoires à travers ces dessins techniques, vous avez toujours la garantie d'avoir des pièces adaptées à votre Typhoon ! Si vous ne le savez pas via les dessins techniques, nous pouvons toujours vous aider par téléphone.
Pièces et accessoires
Ungrand nombre de pièces et d'accessoires sont disponibles pour le Piaggio Typhoon. À partir de cette page, vous pouvez accéder à la page où toutes les pièces sont clairement placées, classées par type de scooter. Pour toutes les pièces universelles, vous pouvez effectuer une recherche dans les catégories ou utiliser la barre de recherche dans le coin supérieur droit.


