Dessins techniques Piaggio Zip RST
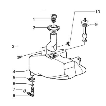
Cliquez ici sur les dessins techniques/vue éclatée du scooter Piaggio Zip RST pour lequel vous recherchez des pièces ou des accessoires. Les dessins techniques du Piaggio Zip RST vous donnent un aperçu clair des différentes pièces de fixation et accessoires. En recherchant vos pièces, vous aurez toujours des pièces adaptées à votre Piaggio Zip RST.


