USP Icon
Post-paiement
USP Icon
Les clients évaluent Zandri à 9
USP Icon
Plus de 100 000 pièces dans l'assortiment

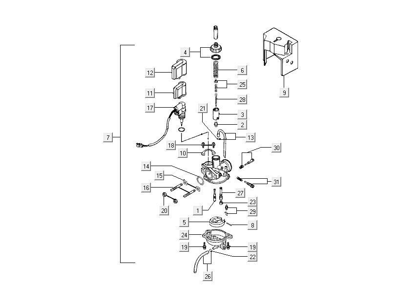
Carburateur - Starter Kymco Super9 ac o.m Sport Blue

Carburateur - Starter Kymco Super9 ac o.m Sport Blue
loader
Chargement...

Pièces détachées Kymco Super9 AC Sportbleu