USP Icon
Post-paiement
USP Icon
Les clients évaluent Zandri à 9
USP Icon
Plus de 100 000 pièces dans l'assortiment

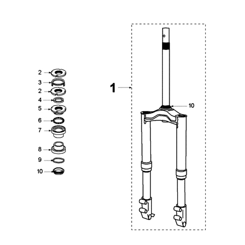
Kit fourche avant Peugeot Ludix 12 noir

Kit fourche avant Peugeot Ludix 12 noir
loader
Chargement...