USP Icon
Post-paiement
USP Icon
Les clients évaluent Zandri à 9
USP Icon
Plus de 100 000 pièces dans l'assortiment

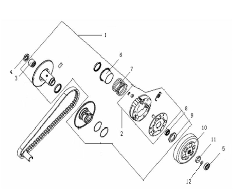
Embrayage Generic Ideo noir 2010 2 temps

Embrayage Generic Ideo noir 2010 2 temps
loader
Chargement...

Pièces détachées Generic Ideo noir 2010 2 temps