USP Icon
Post-paiement
USP Icon
Les clients évaluent Zandri à 9
USP Icon
Plus de 100 000 pièces dans l'assortiment

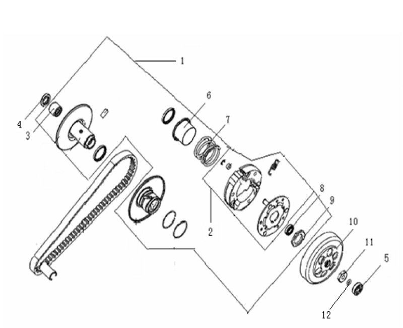
Embrayage Generic Roc silver 2010 2 temps 25

Embrayage Generic Roc silver 2010 2 temps 25
loader
Chargement...

Pièces détachées Generic Roc argent 2010 2 temps 25km/h