USP Icon
Post-paiement
USP Icon
Les clients évaluent Zandri à 9
USP Icon
Plus de 100 000 pièces dans l'assortiment

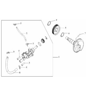
Fourche avant Generic Ideo rouge 2007 2 temps

Fourche avant Generic Ideo rouge 2007 2 temps
loader
Chargement...

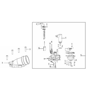
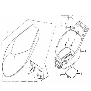
Pièces détachées Generic Ideo rouge 2007 2 temps