USP Icon
Post-paiement
USP Icon
Les clients évaluent Zandri à 9
USP Icon
Plus de 100 000 pièces dans l'assortiment

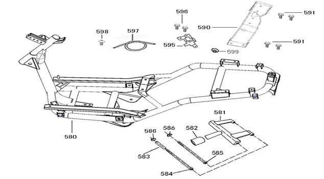
Pièces de cadre China Star50 blanc

Pièces de cadre China Star50 blanc
loader
Chargement...