USP Icon
Post-paiement
USP Icon
Les clients évaluent Zandri à 9
USP Icon
Plus de 100 000 pièces dans l'assortiment

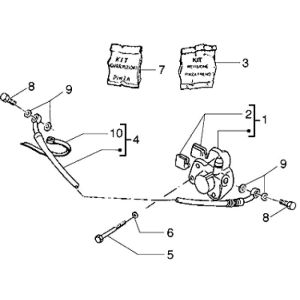
Poulie Piaggio Liberty 4 temps jusqu'à 2005

Poulie Piaggio Liberty 4 temps jusqu'à 2005
loader
Chargement...

Pièces détachées Piaggio Liberty 4 temps <2005