USP Icon
Post-paiement
USP Icon
Les clients évaluent Zandri à 9
USP Icon
Plus de 100 000 pièces dans l'assortiment

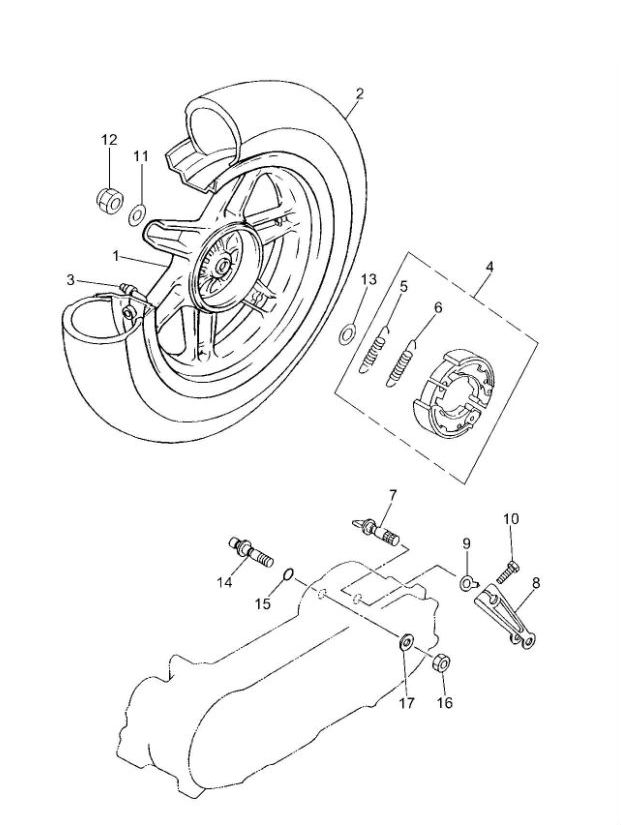
Roue arrière Yamaha Jog-R LC 2 temps

Roue arrière Yamaha Jog-R LC 2 temps
loader
Chargement...