USP Icon
Post-paiement
USP Icon
Les clients évaluent Zandri à 9
USP Icon
Plus de 100 000 pièces dans l'assortiment

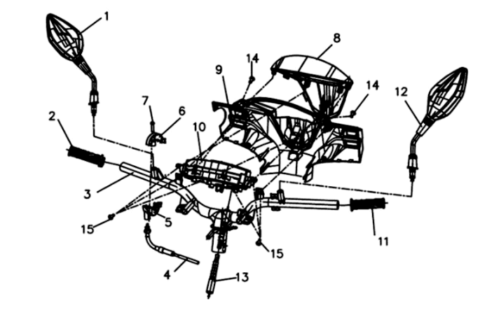
Phare KPL. Sym Symphony ST E3 blanc (WH-006)

Phare KPL. Sym Symphony ST E3 blanc (WH-006)
loader
Chargement...