USP Icon
Post-paiement
USP Icon
Les clients évaluent Zandri à 9
USP Icon
Plus de 100 000 pièces dans l'assortiment

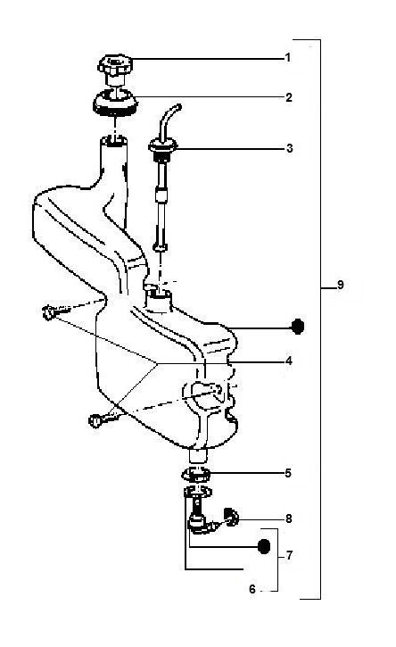
Réservoir d'huile Piaggio Typhoon 98-2005 2 temps

Réservoir d'huile Piaggio Typhoon 98-2005 2 temps
loader
Chargement...

Pièces détachées Piaggio Typhoon 98-2005 2 temps